Máy ly tâm hàng loạt
Mô tả
Thông số kỹ thuật
Máy ly tâm hàng loạtĐề cập đến một loại máy ly tâm thực hiện cho ăn và xả không liên tục, cụ thể là cào và trung tâm dỡ hàng thủ công. Hoạt động trước tiên là điền vào trống bằng vật liệu và điều khiển nó đến tốc độ tối đa, sau đó hoàn thành tất cả các quy trình từng cho đến khi dỡ hàng. So với các trung tâm liên tục, công suất sản xuất bò rất thấp (chỉ 1/3-1}/5) do sự chồng chất của thời gian chương trình. Nhưng nó có những ưu điểm của cấu trúc đơn giản, đầu tư thấp, cơ thể nhẹ, hoạt động dễ dàng, đa năng, phù hợp để sản xuất quy mô nhỏ, v.v ... Các loại phổ biến bao gồm ba trung tâm chân, trung tâm lơ lửng và trung tâm xả dao phụ trợ. Các đặc điểm làm việc của nó là các quá trình khác nhau như cho ăn vật liệu, tách, rửa, mất nước, dỡ và rửa màn hình được thực hiện định kỳ trong trống vào các thời điểm khác nhau. So với các trung tâm liên tục, nó có công suất sản xuất thấp hơn và đòi hỏi nhiều hoạt động và bảo trì hơn, nhưng nó có khả năng thích ứng mạnh mẽ với vật liệu.
Máy ly tâm ba chân
Máy ly tâm ba chân là máy ly tâm sớm nhất trên thế giới, và nó vẫn được sử dụng rộng rãi và được sản xuất rộng rãi nhất với máy ly tâm dọc với hoạt động không liên tục và không tải thủ công cả trong nước và quốc tế. Nó có các đặc điểm của cấu trúc đơn giản, khả năng thích ứng mạnh, hoạt động dễ dàng, sản xuất dễ dàng, hoạt động ổn định và ít thiệt hại hơn cho các hạt dư lượng bộ lọc. Ba trung tâm có hai loại có hai loại: lọc và lắng, và các phương pháp dỡ tải của nó được chia thành dỡ hàng trên và dỡ tải thấp hơn.
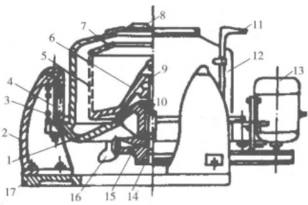
Sơ đồ cấu trúc
Cấu trúc của một máy ly tâm ba chân được thể hiện trong hình "Máy ly tâm ba chân",

CácMáy ly tâm hàng loạtCác thành phần như thân trống, trục chính, ghế mang, vỏ ngoài, động cơ và ròng rọc góc gần như tất cả được lắp đặt trên khung gầm, và sau đó lơ lửng trên hai hoặc ba trụ cột qua ba thanh xoay, do đó có tên là giá ba chân.
Trong quá trình hoạt động, vật liệu chất lỏng được cung cấp từ đỉnh máy và phân phối đều trong trống thông qua bộ nạp vải. Các dịch lọc đi qua môi trường lọc dưới lực ly tâm và được thu thập từ bên ngoài tường trống. Và các hạt rắn tích tụ trên vải lọc, dần dần tạo thành một độ dày nhất định của lớp bánh lọc. Khi dỡ hàng, máy cần được dừng lại và cần phải loại bỏ thủ công bánh lọc và thay thế vải lọc. Quá trình hoạt động và phân tách của máy không liên tục.
Chu kỳ hoạt động
Một chu kỳ hoạt động điển hình có thể bao gồm các giai đoạn sau:
Bắt đầu gia tốc để tăng tốc độ thức ăn;
Khi tốc độ cho ăn khô;
Phanh đến tốc độ thấp;
Sử dụng cơ chế cạp để loại bỏ bánh lọc ở tốc độ thấp.
Tuân thủ các quy trình an toàn trong phòng thí nghiệm




Ưu điểm và nhược điểm
Ưu điểm chính của nó là:
Khả năng thích ứng mạnh mẽ với vật liệu; Cấu trúc của việc dỡ tải thủ công rất đơn giản, dễ sản xuất, cài đặt và bảo trì, với chi phí thấp và hoạt động dễ dàng. Khi máy được dừng hoặc dỡ xuống ở tốc độ thấp, thật dễ dàng để duy trì hình dạng hạt của sản phẩm Cấu trúc hỗ trợ hệ thống treo có thể làm giảm rung và đảm bảo hoạt động của máy trơn tru; Toàn bộ cơ chế quay tốc độ cao được tập trung trong một cơ thể thiên thể kín, giúp bạn dễ dàng đạt được sự niêm phong và phòng chống nổ.
Nhược điểm của nó bao gồm:
Sự phân tách không liên tục, hoạt động theo chu kỳ, nhu cầu bắt đầu giai đoạn cho ăn và sự cần thiết phải làm chậm hoặc ngăn chặn sự gia tăng tốc độ và phóng điện; Năng lực sản xuất thấp và cường độ lao động cao của máy dỡ tải trên thủ công; Do điều kiện hoạt động kém, nó chỉ phù hợp cho sản xuất quy mô nhỏ.
Treo máy ly tâm
CácMáy ly tâm hàng loạtlà một loại trung tâm không liên tục xuất hiện sau ba lần trung tâm. Có hai loại: lọc và lắng, với việc lọc được sử dụng rộng rãi hơn. Sơ đồ cấu trúc của trung tâm treo được hiển thị trong hình.

Đặc điểm làm việc
Đặc điểm cấu trúc của trung tâm lơ lửng là trống của nó được cố định ở đầu dưới của trục linh hoạt dài hơn, trong khi đầu trên của trục được treo trong một hỗ trợ có bản lề thông qua vòng bi. Hỗ trợ khớp nối được trang bị vòng đệm làm bằng vật liệu đàn hồi, được sử dụng để hạn chế độ dịch chuyển xuyên tâm của trục chính và giảm tải động do ổ trục do ổ trục không cân bằng.
Phương pháp hỗ trợ này đảm bảo rằng điểm hỗ trợ cao hơn nhiều so với tâm khối lượng của rôto, do đó đảm bảo tính ổn định trong quá trình vận hành và cho phép tự động định tâm của rôto. Loại thiết bị hỗ trợ và truyền tải này sẽ không bị ô nhiễm bởi dư lượng lọc hoặc bộ lọc.
Chu kỳ nhiệm vụ
Mỗi chu kỳ làm việc của trung tâm lơ lửng bao gồm các quá trình như cho ăn, tách, rửa, tách lại, dỡ hàng và tái tạo bộ lọc. Theo các đặc điểm cấu trúc của nó, cả cho ăn và dỡ hàng đều được thực hiện ở tốc độ quay thấp. Do đó, trong quá trình hoạt động của trung tâm, tốc độ quay của trống liên tục thay đổi định kỳ, nghĩa là sau khi cho ăn ở tốc độ thấp, nó tăng tốc đến tốc độ tối đa để tách; Sau khi hoàn thành việc tách, phanh tái tạo điện và phanh cơ học được sử dụng để dỡ hàng ở tốc độ thấp, và chu kỳ công việc này được lặp lại định kỳ. Trung tâm huyền phù trên áp dụng dỡ tải thấp hơn, và có hai phương pháp dỡ tải: dỡ trọng lực và dỡ cơ học. Hiện tại, việc dỡ tải cơ học chủ yếu được sử dụng. Để giảm cường độ lao động, cải thiện năng lực sản xuất và cải thiện các điều kiện vệ sinh tại chỗ sản xuất, trong những năm gần đây, các trung tâm hệ thống treo trên hoàn toàn tự động hoặc bán tự động được điều khiển bởi động cơ đa tốc độ hoặc động cơ DC và điều khiển tự động thời gian đã được áp dụng.

Lyprifuge không tải dao thứ cấp



Máy ly tâm xả lưỡi thứ cấp, còn được gọi là máy ly tâm xả cạp, là một thiết bị tách chất lỏng rắn hiệu quả được sử dụng rộng rãi trong lĩnh vực công nghiệp. Phương pháp dỡ tải độc đáo của nó và khả năng xử lý hiệu quả làm cho nó đóng vai trò quan trọng trong nhiều ngành công nghiệp như hóa chất, thực phẩm và dược phẩm. Sau đây là phần giới thiệu chi tiết về máy ly tâm dỡ dao thứ cấp.
Đặc điểm công việc
Hoạt động liên tục hiệu quả
Máy ly tâm dỡ dao phụ trợ áp dụng chế độ hoạt động liên tục tốc độ cao, có thể tự động đạt được các quy trình như cho ăn, tách, rửa, mất nước, thoát nước, dỡ và rửa màn hình ở tốc độ tối đa, cải thiện rất nhiều hiệu quả sản xuất.
Cho ăn và dỡ hàng không liên tục
Trong quá trình hoạt động của máy ly tâm, các vật liệu được thêm vào không liên tục vào trống để tách. Khi vật liệu trong trống đạt đến thể tích được xác định trước, hãy ngừng cho ăn và thực hiện các hoạt động tách và rửa. Sau khi hoàn thành việc tách, thiết bị cào tự động quay để xả vật liệu, sau đó cung cấp lại để tạo thành một hoạt động theo chu kỳ.
Khả năng thích ứng mạnh mẽ với vật liệu
Trung tâm xả dao phụ trợ có thể xử lý các huyền phù của các hạt thô, môi trường và mịn, và phù hợp để tách các huyền phù với các hạt rắn mịn, chênh lệch mật độ chất lỏng lớn, các hạt rắn ngắn và chênh lệch mật độ pha chất lỏng nhỏ. Đồng thời, trung tâm có thể điều chỉnh thời gian lọc, rửa, tách và dỡ các quy trình để đáp ứng nhu cầu xử lý của các vật liệu khác nhau.
Mức độ tự động hóa cao
Các trung tâm xả dao phụ trợ hiện đại thường được điều khiển bởi PLC, được lập trình để đạt được hoạt động tự động không người lái. Theo dõi toàn bộ quá trình cho ăn, lọc ban đầu, rửa, lọc tốt và dỡ hàng đã làm giảm cường độ lao động và cải thiện hiệu quả sản xuất.
Cấu trúc tiểu thuyết và hoạt động trơn tru
Centrifge áp dụng một thiết kế cấu trúc mới, chẳng hạn như kết nối trực tiếp trên động cơ và quy định tốc độ tần số thay đổi, tránh được bụi và ô nhiễm nhiễu ma sát do truyền vành đai. Đồng thời, thiết bị hoạt động trơn tru và đáng tin cậy, giảm tỷ lệ lỗi thiết bị và chi phí bảo trì.
Khả năng xử lý cao và hiệu quả rửa tốt
Centrifge dỡ dao thứ cấp có khả năng xử lý lớn và phù hợp cho sản xuất công nghiệp quy mô lớn. Đồng thời, trung tâm áp dụng một phương pháp rửa hiệu quả, có thể đảm bảo hiệu ứng rửa của bánh lọc, giảm độ ẩm của bánh lọc và cải thiện chất lượng sản phẩm.
Chu kỳ làm việc
Chu kỳ làm việc của máy ly tâm dỡ dao thứ cấp thường bao gồm các bước sau:
Bắt đầu và cho ăn
KhiMáy ly tâm hàng loạtđược bắt đầu, động cơ điện điều khiển trống ly tâm để quay, đạt đến trạng thái tốc độ cho ăn. Tại thời điểm này, vật liệu được tách ra vào trống quay tốc độ cao thông qua ống thức ăn. Với việc bổ sung liên tục các vật liệu, mức chất lỏng trong trống tăng dần.
Tách và rửa
Ngừng cho ăn khi vật liệu trong trống đạt đến thể tích được xác định trước. Tại thời điểm này, máy ly tâm được nâng lên trạng thái phân tách tốc độ cao và vật liệu trải qua sự phân tách chất lỏng rắn dưới tác động của lực ly tâm. Pha chất lỏng đi qua vải lọc (màn hình) và các lỗ lọc trên tường trống bên trong và được thải ra từ trống, trong khi pha rắn bị mắc kẹt trên tường trống bên trong để tạo thành một lớp bánh lọc tròn. Sau khi tách, bánh lọc có thể được rửa khi cần thiết để cải thiện chất lượng sản phẩm.
Tốc độ dỡ hàng thấp
Sau khi rửa hoàn thành, tốc độ ly tâm giảm xuống trạng thái xả tốc độ thấp. Tại thời điểm này, thiết bị cào bắt đầu tự động xoay, cạo pha rắn (bánh lọc) ra khỏi thành bên trong của trống và xả nó ra ngoài máy thông qua vít cho ăn hoặc cơ chế xả khác. Các thiết bị cào thường áp dụng phương pháp cạo nhiều giai đoạn, với việc đóng cửa tốc độ thấp để dỡ hàng để giảm thiệt hại hạt.
Làm sạch và tắt máy
Sau khi hoàn thành việc dỡ hàng, máy ly tâm tự động thực hiện hoạt động rửa màn hình để loại bỏ dư lượng trên vải lọc, đảm bảo tiến trình trơn tru của hoạt động tách tiếp theo. Sau khi rửa mạng hoàn tất, trung tâm dừng lại và chờ đợi hoạt động cho ăn tiếp theo.
Trong suốt toàn bộ chu kỳ làm việc, trung tâm xả dao phụ trợ đạt được các hoạt động phân tách chất lỏng rắn tự động và liên tục, cải thiện đáng kể hiệu quả sản xuất và chất lượng sản phẩm. Đồng thời, các trung tâm cũng có những ưu điểm của khả năng thích ứng mạnh mẽ với vật liệu, khả năng xử lý lớn và hiệu quả rửa tốt, và được sử dụng rộng rãi trong nhiều ngành công nghiệp như hóa chất, thực phẩm và dược phẩm.
Chú phổ biến: Máy ly tâm hàng loạt, Nhà sản xuất máy ly tâm, nhà cung cấp, nhà máy của Trung Quốc
Một cặp
Máy ly tâm mẫu máuTiếp theo
Máy ly tâm giỏGửi yêu cầu














